Definition and Proof Based Problems

Q 3211191920

Define the term 'electrical conductivity' of a metallic wire. Write its SI unit.

Solution:

Electric conductivity ( `sigma` ) is defined as the reciprocal of electric resistivity.

i.e ` sigma = 1/rho`

Its `SI` unit is `Omega^(-1) m^(-1) `, mho `m^(-1)` or siemen `m^(-1)`.
Q 3242512433

Define mobility of electron in a conductor.
How does electron mobility change when (i) temperature of conductor is decreased and (ii) applied potential difference is doubled at constant temperature ?

Solution:

Mobility is defined as the positive value of drift velocity per unit electric field applied.

`:. mu = u_d/E = e/m tau`

Therefore, the mobility (i) increases with the decrease in temperature and (ii) remains same.
Q 3282612537

Define relaxation time of the free electrons drifting in a conductor. How is it related to the drift velocity of free electrons? Use this relation to deduce the expression for the electrical resistivity of the material.

Solution:

Relaxation time is the duration for which an electron drifting through a conductor does not suffer any collision.

Relation between drift velocity of free electrons and relaxation time

` vec v_d = (- e vec E)/m tau`

where `E` is the electric field across the conductor drift.ing the electrons.

We have the relation ` v_d = (eE)/m tau`

`:. v_d = (eV)/(ml) tau` ..........(i)

where `V` is the potential difference and `l` is the length of the conductor.

`∵ I = v_d enA => v_d = I/(enA)` .............(ii)

Substituting the value of `v_d` from equation (ii) in equation (i), we get

` I/(enA) = (eV)/(ml)tau => V = ((ml)/( n e^2 tau A) ) l`

`:. R = (ml)/( n e^2 tau A) `

`:. rho = m/(n e^2 tau)`

`rho` is called the resistivity of the material of the conductor.
Q 3252812734

(a) Define the term 'drift velocity' of charge carriers in a conductor. Obtain the expression for the current density in terms of relaxation time.
(b) `A 100 V` battery is connected to the electric network as shown. If the power consumed in the `2 Omega` resistor is `200 W`, determine the power dissipated in the `5 Omega` resistor.

Solution:

(a) Let A be the area of cross-section of a wire and `n` be the number of free electrons per unit volume. If `v_d` be the average drift speed of the electrons along the wire, then the number of electrons passing in time t through the cross-section of the wire will be given by `nAv_d`. If e is the charge on each electron, the charge `q` passing in time `t` through the cross-section of the wire will be given as

`q = (nAv_d t) e`

` ∵ I = n eAv_d`

`∵ j = I/A => j = n ev_d`

where `j` is the current density

`:. j = (n e^2 E tau)/m`

(b) Power disspated in `2 Omega` resistance `= 200 W` (given)

`:. 200 = I^2 xx 2`

` :. I = 10A` (Total current in the circuit)

Voltage drop across `2 Omega`, i.e. `V = 2 xx 10 = 20 V`

`:.` Remaining p.d. across the rest of the circuit `= 80 V`

Effective resistance of upper area ` = ( 30 xx 6)/(30 + 6) + 5 = 5 + 5 = 10 Omega`

`:. R = (10 xx 40 )/(10 + 40) = 8 Omega`

`:.` Current in `5 Omega` resistance ` = (80V)/(10 Omega) = 8A`

`:.` Power across `5 Omega` resistance ` = 8^2 xx 5 = 64 xx 5 = 320 W`
Q 3212512430

Explain the term 'drift velocity electrons in a conductor. Hence obtain the expression for the current through a conductor in terms of drift velocity'.



Solution:

Consider a conductor of length `l`, area

of cross section A and having number

density of free electrons n. On establishing the potential difference across the conductor, suppose the · electrons drift from lower potential to higher potential side with velocity `vec v_d` . The volume of the conductor covered by an electron in unit time is

` V = v_d A` ..............(i)

Electrons occupying the volume in unit time is

` N = nv_d A` ............(ii)

Thus, the charge flow through any cross~section of the conductor in unit time is

`q = env_d A` ... (iii)

According to the definition, the electric current is the rate of flow of charge through any cross-section of the conductor. Hence,

` I = q/l`

` I = env_d A` ..............(iv)
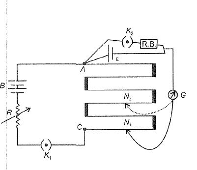
Q 3282712637

State the underlying principle of a potentiometer. Describe briefly, giving the necessary circuit diagram, how a potentiometer is used to measure the internal resistance of a given cell.

Solution:

The principle of working of a potentiometer: The potential drop along a wire is directly proportional to its corresponding length provided the current is constant and the wire is of uniform area of cross-section and physical conditions remain the same.

i.e. `V alpha l`

To measure the internal resistance of a cell: With an open key `K_2`, the balancing length is obtained. Let it be length `l_1` We have relation

`epsilon = phi l_1` ... (i)

where `phi =` potential gradient When key `K_2` is closed, the cell passes a current `I` through the resistance box having resistance `R`. If `V` is the terminal potential difference of the cell and `l_2` is the balancing length. We have relation

`V = phi l_2` ........(ii)

From equations (i) and (ii), we have `epsilon/V = l_1/l_2`

We know that ` r = ( epsilon/V - 1) R => r = (l_1/l_2 - 1) R`
Q 3222612531

State the principle on which. the working of a meter bridge is based. Under what condition is the error in determining the unknown resistance minimised ?

Solution:

Meter bridge is based on the principle of Wheatstone bridge. An error, in determination of resistance, can be minimised by adjusting the balance point near the middle of the meter bridge.
Q 3252712634

(i) State the principle of working of a meter bridge.
(ii) In a meter bridge balance point is found at a distance `l_1` with resistances `R` and `S` as shown in the figure. When an unknown resistance `X` is connected in parallel with the resistance `S`, the balance point shifts to a distance `l_2` . Find the expression for `X` in terms of `l_1 , l_2` and `S`.

Solution:

With `R` and `S` alone, we have

`R/S = l_1/(100 - l_1) => R ( 100 - l_1) = Sl_1` ..............(i)

With `S` and `X` in parallel with `R` on the left gap,

` R/((SX)/(S + X)) = l_2/(100 - l_2) => R ( 100 - l_2) = (SXl_2)/(S + X)` ...........(iii)

Dividing equations (i) and (ii), we get

`(100 - l_1)/(100 - l_2) = (l_1 (S + X))/(Xl_2)`

`=> 100 X l_2 - l_1 l_2 X = 100 l_1 S + 100 l_1 X - l_1 l_2 S - l_2 l_1 X`

`:. X = (100 l_1 S - l_1 l_2 X)/( 100 (l_2 - l_1))`
Q 3282712637

State the underlying principle of a potentiometer. Describe briefly, giving the necessary circuit diagram, how a potentiometer is used to measure the internal resistance of a given cell.

Solution:

The principle of working of a potentiometer: The potential drop along a wire is directly proportional to its corresponding length provided the current is constant and the wire is of uniform area of cross-section and physical conditions remain the same.

i.e. `V alpha l`

To measure the internal resistance of a cell: With an open key `K_2`, the balancing length is obtained. Let it be length `l_1` We have relation

`epsilon = phi l_1` ... (i)

where `phi =` potential gradient When key `K_2` is closed, the cell passes a current `I` through the resistance box having resistance `R`. If `V` is the terminal potential difference of the cell and `l_2` is the balancing length. We have relation

`V = phi l_2` ........(ii)

From equations (i) and (ii), we have `epsilon/V = l_1/l_2`

We know that ` r = ( epsilon/V - 1) R => r = (l_1/l_2 - 1) R`
Q 3262812735

(a) State, with the help of circuit diagram, the working principle of a meter bridge. Obtain the expression used for determining the unknown resistance.
(b) What happens if the galvanometer and cell are interchanged at the balance point of the bridge?
(c) Why is it considered important to obtain the balance point near the midpoint of the wire?

Solution:

(a) The metre bridge is based on the Wheatstone bridge principle. The connections are made as shown in the figure. A resistance R is introduced from the resistance box and the key K is closed. The jockey is moved on the wire to the point where there is no deflection in the galvanometer. In such as case points B and D are at the same potential. The point D is called the null point.

Let, in this position, `AB = L` cm and `BC = (100 - L) ` cm. Therefore, the

resistance of AB, i.e. ` P alpha L` and resistance of `BC`, i.e. `Q alpha (100 - L)` hence

` P/Q = L/(100 - L)` ...........(i)

In a balanced state, by the Wheatstone bridge principle, we have

` P/Q = R/X` ..........(ii)

Substituting equation (i) in equation (ii), we have

` R/X = L/(100 - L)` ...............(iii)

Rewriting equation (iii), we have

` X = ((100 - L)/L ) R`

(b) There is no change in the position of the balance point if the galvanometer and the cell are interchanged.

(c) It is important to get the balance point near the mid-point of the wire because then the resistances in the four arms of the bridge are of the same order. The sensitivity of the bridge is maximum and the resistance is determined move accurately.
Q 3282812737

(a) State the principle of potentiometer. Define potential gradient. Obtain an expression for potential gradient in terms of resistivity of the potentiometer wire.
(b) Figure shows a long potentiometer wire AB having a constant potential gradient. The null points for the two primary cells of emfs `epsilon_1` and `epsilon_2` connected in the manner shown a:re obtained at A a distance of `l_1 = 120 cm` and `l_2 = 300` cm from the end A. Determine (i) `epsilon_1// epsilon_2` and (ii) position of null point for the cell `epsilon_1` only.


Solution:

(a) Principle of potentiometer: The principle of working of a potentiometer: The potential drop along a wire is directly proportional to its corresponding length provided the current is constant and the wire is of uniform area of cross-section and physical conditions remain the same.

i.e. `V alpha l`

To measure the internal resistance of a cell: With an open key `K_2`, the balancing length is obtained. Let it be length `l_1` We have relation

`epsilon = phi l_1` ... (i)

where `phi =` potential gradient When key `K_2` is closed, the cell passes a current `I` through the resistance box having resistance `R`. If `V` is the terminal potential difference of the cell and `l_2` is the balancing length. We have relation

`V = phi l_2` ........(ii)

From equations (i) and (ii), we have `epsilon/V = l_1/l_2`

We know that ` r = ( epsilon/V - 1) R => r = (l_1/l_2 - 1) R`

Potential gradient: The fall of potential per unit length of the potentiometer wire is called potential gradient.

` k = V/L`

where `L` is the length of potentiometer wire and `V` is the potential difference across it.

` k = (IR)/L = (I rho l)/(LA)`

(b) (i) Given: `l_1 = 120 cm, l_2 = 300 cm`

`epsilon_1 + epsilon_2 = k 300 ; epsilon_1 - epsilon_2 = k 120`

Dividing both the equations, we get

` :. ( epsilon_1 + epsilon_2)/(epsilon_1 - epsilon_2) = (300)/(120) = (10)/4 => 4 epsilon_1 + 4 epsilon_2 = 10 epsilon_1 - 10 epsilon_2` ......(i)

`:. 6 epsilon_1 = 14 epsilon_2 => epsilon_1/epsilon_2 = (14)/6 = 7/3` ........(ii)

(ii) `epsilon_1 + epsilon_2 = k 300`

`=> epsilon_1 - epsilon_2 = k 120`

Adding both the equations, we get

`:. 2 epsilon_ 1 = k 420`

`=> epsilon_1 = k 210`

i.e. balancing length is `210 cm`.
Q 3202812738

(a) State the working principle of a potentiometer. With the help of the circuit diagram, explain how a potentiometer is used to compare the emfs of two primary cells. Obtain the :required expression used for comparing the emfs.
(b) Write two possible causes for one sided deflection in a potentiometer experiment.

Solution:

(a) Principle of potentiometer : The principle of working of a potentiometer: The potential drop along a wire is directly proportional to its corresponding length provided the current is constant and the wire is of uniform area of cross-section and physical conditions remain the same.

i.e. `V alpha l`

To measure the internal resistance of a cell: With an open key `K_2`, the balancing length is obtained. Let it be length `l_1` We have relation

`epsilon = phi l_1` ... (i)

where `phi =` potential gradient When key `K_2` is closed, the cell passes a current `I` through the resistance box having resistance `R`. If `V` is the terminal potential difference of the cell and `l_2` is the balancing length. We have relation

`V = phi l_2` ........(ii)

From equations (i) and (ii), we have `epsilon/V = l_1/l_2`

We know that ` r = ( epsilon/V - 1) R => r = (l_1/l_2 - 1) R`


Comparison of emf's of two primary cells: The circuit diagram for comparing the emfs of two cells is given below. B First, the key point `1` of two way key joined with point `2` is inserted. This brings the cell of emf `E_1` in the circuit. The jockey is moved on the wire to obtain a balance point, i.e. a point on the wire where the galvanometer gives zero deflection. Let the balancing length be `l_1`. Then, by the potentiometer principle, we have

`E_1 alpha l_1` ... (i)

Now, the key point `2` of two way key joined with point `1` is inserted. This brings the cell of emf `E_ 2` in the circuit. The jockey is again moved on the wire to obtain the balance point. Let the balancing length be `l_2`. Then, by potentiometer principle, we have

` E_2 alpha l_2` .............(iii)

Dividing equation (i) by (ii), we have

` E_1/E_2 = l_1/l_2` ...............(iii)

Knowing the values of `l_1` and `l_2`, the emfs can be compared.

(b) (i) The connections are not correct, i.e. at point A, the positive terminals of driver cell and battery are not connected.

(ii) The emf of a driver cell is lesser than the emfs of auxiliary cells.

 
SiteLock